分长纤维增强复合材料的横向双轴试验
研究背景
长纤维增强复合材料的失效机制研究,是进行相关分析预测的前提,也为此类材料在工业界中应用提供了理论基础。纤维间的横向失效,可能发生在面内,也可能发生在受到冲击荷载的多向层压板中。
2022年,《Composite Structures》期刊发表了塞维利亚大学在长纤维增强复合材料横向双轴试验相关的研究工作。研究人员优化了十字型试验件的设计与制作流程,并通过双轴试验探索了双轴应力破坏机制,研究了双轴加载比例对失效载荷的影响,得出了双轴受载下的横向应变失效判据。
试验件设计与制备

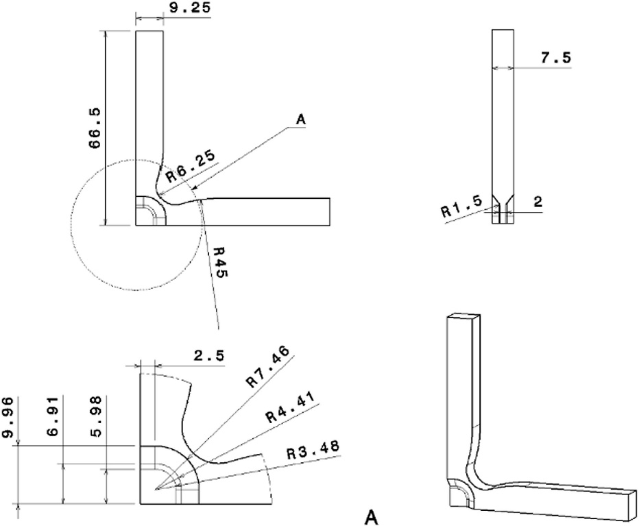
试验件几何构型
试验件设计是这项研究工作的一大技术创新点,该研究团队在之前的“Design for a cruciform coupon used for tensile biaxial transverse tests on composite materials”文章中采用数值模拟与试验结合的方式解释了此类试验件设计的合理性。在此基础上,研究人员首先介绍了横向双轴试验中使用的十字形试样设计,然后描述了所采用的具体制造程序。

试验件制备流程
研究人员设计了专门的模具,用于通过预浸料制造十字型的胚体,然后在此基础上进行切割和数控加工,最终得到中心减薄的十字型试验件。具体步骤如下:(a)步骤1:压实工艺。(b) 步骤2:尺寸切割。(c)步骤3:横向垂直装配。(d)步骤4:固化进行中。(e)步骤5:固化后。(f)步骤6:金刚石圆盘锯切割。(g)步骤7:光学检查。(h)步骤8:数控加工固定装置。(i)步骤9:最终试验件及加强片。其中步骤8中使用了全新的数控加工技术以及辅助机床的设计,对类似研究工作中的加工工艺提供了借鉴。
试验加载设备


垂直应力σv与水平应力σh的关系
研究人员进行了垂直于纤维方向的拉伸-拉伸(T-nT)和拉伸-压缩(T-nC)加载,得出了双轴加载比例对失效载荷的影响规律。对试验结果进行分析可以得出:在所有情况下,所产生的破坏机制都由主拉力决定,因此破坏面的方向始终垂直于该拉力。另一方面,二次拉伸载荷(T-nT情况)的存在似乎对导致破坏的外部拉伸载荷(主拉力)的值没有显著影响,而在T-nC情况下,次级压缩载荷的存在导致主拉伸载荷的值降低。

破坏面位置和方向
通过试验,研究人员还能够评估不同载荷情况设计的试样的性能。从双轴试验件设计角度出发,最终的破坏发生在预期区域,符合最初的设计预期,因此,在T-nT和T-nC情况下,外部压缩值适中,是可行性设计。对于这种二次压缩的高值,有必要对几何结构进行一些修改或采用另一种类型的载荷施加系统。

破坏起始点
研究人员通过使用高速摄像机和对破坏后试验件分析,可以确定宏观破坏的起点,根据所使用的载荷情况找到特定的模式。这些结果也证实了制造过程的合理性,并提供了试验证据,这可能对未来评估断裂带应力状态的数值分析非常有意义。

双轴受载下的横向应变失效关系
此外,研究人员在试验段中心获得了应变计测量值。首先,研究人员对影响试样中心区域的双轴率与破坏时外部载荷相关的双轴率进行比较,估算出相应的应力。其次,再次验证了试验结果与该材料表征和吻合。最后,在失效应变中确定了线性趋势,这使得可以初步得到双轴受载下的横向应变失效判据。
小结
(1)试验件破坏面的方向始终垂直于主拉力方向,验证了破坏机制由主拉力控制。二次拉伸载荷的存在对导致失效的主拉力值没有显著影响,二次压缩载荷的存在导致主拉伸载荷的值减小。找到了试验件中心区域的破坏起始点。探索了双轴应力破坏机制,研究了双轴加载比例对失效载荷的影响。
(2)试验结果与材料表征中的横向拉伸应变和强度一致。根据相应应力的估计值,比较了影响试样中心区的双轴比与断裂时刻外部载荷相关的双轴率。得出了双轴受载下的横向应变失效判据。
